一種便攜式風扇型筆記本電腦供電裝置,含有安裝電腦散熱風扇的散熱座…
Sep 09, 2019本文涉及降低電腦機箱內溫度的裝置,特別是一種電腦機箱用的電腦散熱風扇裝置。 …
Sep 09, 2019
本文涉及一種電腦CPU散熱風扇,特別是涉及一種導風罩式電腦CPU散熱風扇。 …
Sep 04, 2019
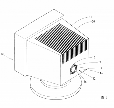
?本文涉及一種電腦顯示器內建式散熱風扇,尤指一種散熱效果較佳的的電腦顯示器的散熱風扇結構。…
Aug 22, 2019
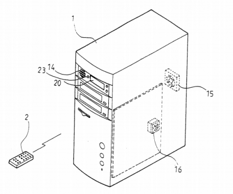
本文涉及電腦主機的散熱風扇,尤指一種可由外部遙控且能依據不同溫度的變化自動調控風扇轉速的電腦主機的遙控散熱風扇。…
Aug 12, 2019
本文提供一種散熱風扇固定裝置,特別是指一種電腦主機的散熱風扇固定裝置。…
Aug 07, 2019
本文涉及一種電腦散熱風扇的導流裝置,尤其是這樣一種筆記本型電腦散熱風扇的導流裝置…
Jul 31, 2019
以往筆記型電腦 散熱風扇 配置裝置有下列的缺點 (1)散熱風扇的垂直回流 (2)容易產生較大噪音——風源的回流與散熱扇葉形成干擾,容易造成較大的噪音。 (3)散熱風扇的壽命減短, 本設…
Jul 31, 2019